Ротор стартера TT71608
Нет в наличии
Справочная информация
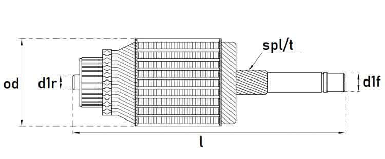
24V, 11T; L 195.6mm; для UPSTR6107, UPSTR6107A; похож CG138830
(но у CG138830 передний подшипник ниже посажен на 3 мм)
Кросс-номера и комплектующие
TT71608 PRO
TT
SA2022
AS
333059
CARGO
2240-6100
HITACHI
894365-477-0
ISUZU
8972305570
ISUZU
SM71608
SAEMOTO
AM6107
UNIPOINT
6227647W
WAI
AM-1059
WIX
